NaiPu ZJS(H) Series Gravel Pump
ZJS(H) series gravel pumps are specifically designed for continuous handling of extremely abrasive slurries containing oversized solids that cannot be pumped by standard slurry pumps. These pumps are ideal for applications in mining, metal smelting (explosive sludge handling), dredging operations, river channeling, and other similar heavy-duty fields.
ZJSH models are designed as high-head variants to meet the needs of long-distance or high-elevation transport.The pump features a single-casing structure, connected by robust clamp bands, and equipped with a wide wet-passage to reduce clogging. All wet-end parts are manufactured from Ni-hard and high-chromium abrasion-resistant alloys, ensuring superior durability in harsh environments. Each pump’s discharge outlet can be rotated 360°, allowing flexible installation orientation. This series offers the advantages of easy installation and operation, excellent NPSH performance, and exceptional wear resistance.
If you require a pump model that is not currently available on our website, please contact the EMAC sales team for technical specifications and documentation. Our well-trained sales and engineering teams are ready to assist you with all product and technical documentation available from Naipu Slurry Pump.
General Specifications of ZJS(H) Series
| Flow range: | 36~3168 m³/h |
| Head range: | 7~77 m |
| Speed range: | 300~1400 r/min |
| Power on Shaft: | 3~643 kW |
ZJS(H) Model Description
- 100ZJS(H)
- 100 : Discharge diameter (mm)
- ZJS : Gravel pump
- H : High-head of gravel pump
- The pump has a single pump casing structure connected by a clamp connections
- Its flow-through parts are made of hard nickel, high chromium and other wear-resistant materials
- The discharge direction of the pump can be in any position of 360°, and it has the advantages of easy installation and use
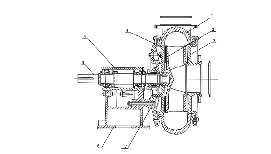
Constructional Drawing for Type ZJS(H)
| NO | Part Name |
| 1 | VOLUTE |
| 2 | IMPELLER |
| 3 | COVER |
| 4 | FRAME PLATE LINER |
| 5 | BEARING ASSEMBLY |
| 6 | FRAME |
| 7 | STUFFING BOX |
| 8 | SHAFT |
| 9 | FRONT MINER PLATE |
|
ParameterType |
Flow Rate Q |
Head H |
Speed N |
Efficiency η |
Power on Shaft | Drive Type | Pump dimensions ( L x W x H ) |
Weight | |||||
|---|---|---|---|---|---|---|---|---|---|---|---|---|---|
| Unit | m³/h | m | r/min | % | kW | mm | kg | ||||||
| 100ZJS | 187-36 | 7-51 | 1400-600 | 30-58 | 52-3 | CV/CR/DC | 1011 x 705 x 677 | 460 | |||||
| 150ZJS | 576-133 | 10-48 | 1400-800 | 60-54 | 88-11 | CV/CR/DC | 1299 x 896 x 873 | 1120 | |||||
| 200ZJS | 930-216 | 11-44 | 930-500 | 65-34 | 147-22 | CR/DC | 1597 x 1121 x 1089 | 2285 | |||||
| 250ZJS | 1512-360 | 11-58 | 850-400 | 70-50 | 305-24 | CR/DC | 2010 x 1330 x 1516 | 4450 | |||||
| 300ZJS | 3168-522 | 9.5-66 | 700-300 | 68-60 | 643-29 | CR/DC | 2102 x 1645 x 1648 | 5400 | |||||
| 350ZJS | 3024-900 | 14-45 | 500-300 | 70-50 | 459-78 | CR/DC | 2196 x 1880 x 1765 | 8800 | |||||
| 150ZJSH | 648-126 | 15-77 | 1050-500 | 71-50 | 177-12 | CR/DC | 1500 x 1100 x 1120 | 1900 | |||||
| 200ZJSH | 1091-324 | 19.2-56.5 | 800-500 | 72-60 | 205-32.4 | CR/DC | 1774 x 1212 x 1282 | 3188 | |||||
| 250ZJSH | 2232-612 | 28-77 | 700-450 | 73-60 | 558-89 | CR/DC | 2211 x 1734 x 1500 | 4638 | |||||
| ——END—— | |||||||||||||
NaiPu ZJS(H) Series Gravel Pump
This list including all models of NaiPu ZJS(H) Series Gravel Pump.
Click here to find pump by type (head and flow rate).
Products Not Available
The relevant products still under developing or waiting to be update, please contact our sales team for latest updates.

